geoengineering = crop dusting humanity
chevron deference, geoengineering fallacies

I want to thank you paid subscribers for supporting the many hours of research and writing required to make one of these posts.
By now many of you will have heard that in a recent 6-3 decision, SCOTUS reversed the landmark 1984 decision made in the case of Chevron v. Natural Resources Defense Council. That case gave rise to what has become known as the Chevron Deference Doctrine, which meant that courts would defer to the “expertise” of federal agencies to interpret and implement their regulations.
Speaking on behalf of the majority of justices that voted with him, Chief Justice John Roberts called Chevron Deference “fundamentally misguided”.
Over the past 40 years Chevron Deference has led to the ruin of many farmers, businesses and regular folks as federal agencies have run roughshod - often to the benefit of corporate globalists - over them, imposing their holier-than-thou deep state rules and regulations, regulations to which none of us consented.
Thanks to this SCOTUS decision, Chevron Deference is now dead.
onward
There is no legislation that allows for Strategic Aerosol Injection (SAI). In fact, there is no legislation that allows for the greater geoengineering program. To the best of my knowledge, congress has appropriated no specific funds to pay for this. Yet, we can all see it happening in the skies above us nearly every day. It’s all being conducted by three letter agencies and the US military under the guise of the UN Climate Report, which gave birth to the Paris Climate Accords. Biden brought the US into alignment with the latter his first day in office. As I’ve explained before, this is not a binding treaty, it’s merely an agreement. However, Biden’s signature has provided some very nice cover for unelected deep state officials at federal bureaucracies to take control of our commons (our air, oceans, mountains, rivers, forests, public lands) to run life-hating geoengineering programs, including SAI programs.
The ramifications of the recent SCOTUS decision could deliver a death blow to geoengineering. In other words -
Because all aspects of geoengineering are considered controversial…
Because there is no science to support it’s effectiveness nor its implementation…
Because it was never officially approved and funded by Congress…
Because it’s being conducted by federal agencies who seem to be doing it to warm up the earth and use that as an excuse to impose all manner of programs that only benefit predatory globalists (One Health, pandemic agreements, genetic modification of crops and livestock to supposedly make them more resilient to ‘climate change’, 15 minutes cities, electric cars, digital ID and digital currency, fake meat, farm confiscation as well as every other aspect of Great Reset nonsense)
… the recent ruling by SCOTUS means that federal agencies and the military do not have the right to impose any form of geoengineering.
As I’ve pointed out in earlier posts, the elements used in geoengineering are toxic to all life. The death of Chevron Deference not only means federal agencies no longer have standing, it also means we can now take the guilty parties to a Nuremberg style court and prosecute them for crimes against humanity!
not contrails
Since my last post a few people have told me that they believe SAI and contrails are the same thing. In other words, they are saying that there is no specific SAI (chemtrail) program.
Their argument goes like this.
SAI and/or contrails result when any jet plane flies through atmospheric conditions favorable to causing jet exhaust to precipitate into a contrail. In other words, all SAI trails (chemtrails) are merely contrails that manifest due to certain atmospheric conditions.
The people making these comments seem to have a common source for that information. That source also chimed in last week to make a derogatory comment. In a more agreeable sentence, that person said I could ask him questions. I posed some of the questions below to him. I’ve not heard back.
Here are a list of things that bring the contrail position into question.
Let’s first begin with the video of the two commercial pilot whistle blowers who I covered in this earlier post. These pilots very clearly described how SAI is carried out. They described how some cargo planes are equipped with built in tanks and some have roll-on tanks. They described how the toxic elements in the tanks are hooked up by engineers to the external dispersal system. As commercial pilots, one would think they know the difference between SAI and contrails. They never said anything about contrails.
They also pointed out that over Europe SAI trails are been laid down in the 5,000’ to 15,000’ elevation range. All of the contrail folks will tell you that contrails can only be made above 20,000’ under specific atmospheric conditions.
As Dane Wigington has pointed out, the pilots also said that a certain percentage of the toxic elements in the atmosphere come from the burning of jet fuel, but they emphasized that the vast majority of elements are from SAI.
In that post I also linked to a company that leases cargo jets for SAI. As I also pointed out, they have two converted jets for sale.
I also linked to a company that makes the elements used in SAI.
Secondly, several readers sent me a link to former director of the CIA John Brennon giving a speech at the Council of Foreign Relations in 2016 talking about geoengineering and his favorite aspect of geoengineering, SAI. He goes to some length to describe how SAI would put elements into the atmosphere to block the sun. Brennon never mentions contrails.
By the way, Brennon says this program would be very cost effective at 10 billion per year. Why would he acknowledge it as being program if it were merely contrails?
Thirdly, there is the glaring question about why we do not see SAI trails or contrails along the heavily trafficked air routes between major cities. If SAI was nothing more than ‘contrails’ created by jets flying people and cargo from point A to point B, we should be seeing most ‘contrails’ along those heavily trafficked, commercial routes… in straight lines. As I have pointed out in the previous 5 posts, we do not see that. What all the satellite images and loops I’ve posted show are SAI trails being laid down all over the map, often in tight clusters or groupings, often hidden within cirrus clouds, almost always in random angles, patterns, wavy lines and loops that have nothing to do with commercial air routes. Some are even laid down randomly over the Pacific ocean within prevailing winds that take them over the US.
Fourthly, there are engineering arguments that bring contrails into question. I have a long time friend who, for the past 30+ years, has been an aerospace engineer specializing in testing jet engines. Without even mentioning chemtrails or geoengineering, I asked him about contrails. He said they can be made under specific atmospheric conditions above 20,000’. He also said that, due to the higher tech materials that modern jet turbine engines are made from, they run much hotter than older ones. That results in burning more of the delivered fuel, which means they generate less exhaust, all of which makes them more efficient.
With less exhaust particulates, there should be fewer, not more contrials.
He mentioned that the exhaust leaves the engines at about 1,000 Deg F. Does that explain why the upper atmosphere is warming up? One only need go to FlightRadar24 to see some of the tens of thousands of planes that are in the air at any one moment. That’s a lot of heat that’s being pumped into the atmosphere 24/7.
He also said contrails are the result of water condensation. As we all know, condensation dissipates. SAI trails do not.
I asked Dane Wigington if he had any input on this. He pointed me to his documentary. It’s been a year or two since I watched it, so I watched it again a few days ago. I had forgotten that in the first few minutes several military officials make it abundantly clear that SAI is not contrails. Allen Buckman (US Air Force), Charles Jones, (US Air Force Brigadier General Ret) are both adamant that contrails, if and when they’re produced, dissipate quickly and that SAI's are purposely laid down and do not dissipate. Over the course of the documentary a number of other well informed folks concur.
debunking the ballast story
Another aspect of the last post that was questioned by one or two people was the idea that the tanks shown in the photographs were ballast tanks used to test for shifting loads in planes (people moving around in a passenger jet). My first response is, why would they spend an outlandish sum of money on this testing equipment when they could give some folks a free flight while they do some real world testing?
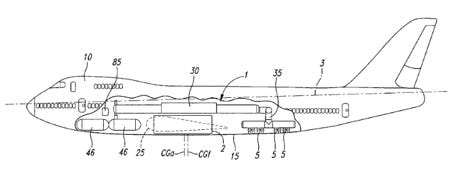
However, this one is easy to debunk using official documents. All we have to do is look at the patents that show how SAI is carried out. Here are two drawings from one such patent (2008). There are many more patents similar to this one. If you go to that link, be sure to note that the Assignee is Evergreen Int. Av. who, as I pointed out in an earlier post, ran ops for the CIA for decades. Please note that this is a Boeing 747. That will become important later.
These patent drawings clearly depict what was shown in the photographs in last weeks post.
One thing that I failed to point out in that last post is that those are some heavy duty tanks, built to withstand pressurization. If they wanted to just carry water for a ballast test, they didn’t need to use expensive pressure tanks. However, when reading the patents we find that to eject SAI elements the tanks need to be pressurized. Hence, the need for pressure tanks. Here is a pertinent paragraph from this particular patent. Please note that “weather modification” is listed as one of the uses included under this patent.
Then there is this 2010 patent, also assigned to Evergreen Int. Av.
Here is a pertinent paragraph from this patent. Please note that the patent clearly states that this system is designed to deliver elements from the “aircraft to the terrain below” and that “weather control” is listed as one of the uses for this patent. Again, ballast tests are not mentioned.
Here is another patent showing how materials can be dispersed from wings.
Now that we’ve established that contrails are not SAI or vice vera, and that those are not over engineered water ballast tanks, we should consider why there are people with prominent websites and followings who are trying to muddy the waters about geoengineering and SAI.
Here is a patent showing the placement of ejection nozzles on the bottom side of a jet engine (22). For anyone looking at or photographing these planes from the ground, nozzles in this location will make trails appear to be coming from the engine.
There were also a few who questioned the photo (in my last post) of a jet aircraft emitting trails coming from areas of the wing apart from the engines. Some are saying that was a wing vortex test of a Boeing 747, but no one presented any official documentation to support that.
Wing vortexes have been understood since before WWII. I remember being instructed about them in ground school in 1970. Engineers have known how to deal with them since jet aircraft began flying in the 1940’s. Why would they need to run this more recent test?
Those who claim this is a wing vortex test say the plane in that photo is a Boeing 747. That looks to be correct. Let’s remember that the drawings of the patents I presented above were of a Boeing 747. Could this have been a test flight of the one and only Boeing 747 that Evergreen ever brought to fruition as a fully functioning dispersal aircraft? All the signs point to that being the case.
I would lay odds that Evergreen made a fortune selling rights to these patents.
Again, we need to ask, why are some folk’s useing their prominent websites to muddy the water’s about geoengineering? Could it have something to do with Evergreen’s close relationship with the CIA?
Given all of this, it becomes understandable why geoengineering is a topic that has remained largely unknown for a very long time. The question becomes, how can a program that sprays our skies with eminently visible toxins every day go unnoticed by the masses? Is it because so many are looking down at their phones instead of up at the sky?
As I said earlier, covid crimes pale in comparison to geoengineering crimes. Covid lasted a few years and anyone who wanted to could refuse to take the jabs. Geoengineering has been going on at least since the Viet Nam war and because we all have to breath, no one can refuse to participate.
SAI began with pesticide spraying from biplanes. Here is a 1931 patent for spraying pesticides from planes.
As I have shown, the difference being, instead of biplanes, today they’re using high altitude cargo jets as crop dusters.
And we are the pests they’re trying to eliminate.
Let’s take advantage of the recent SCOTUS decision and take these psychopathic, mass murdering crooks to court!










You can bet they’re already neck deep in new technology that won’t make chemical spraying apparent to the people below. I’d be surprised if that’s not happening already.
Agree or disagree, it's been proven that lead is falling from the trails those planes leave behind, which is bad enough.